Nominel strøm 80A direkte
MID-certificeret
Høj nøjagtighed klasse C
35 mm DIN-skinne monteret
Pulsudgang
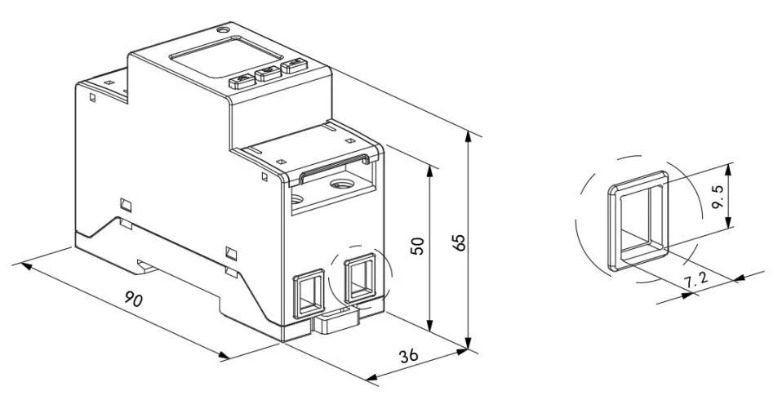
4 moduler 72mm Bredde
Til IoT Energy Management, Factory, School
AC enkeltfasemåling
80A direkte indgangsstrøm
CE-MID certificeret
Høj nøjagtighedsklasse 1
Installation af DIN-skinne
RS485 kommunikation
Anvendelse: IoT Energy Management, Factory, School
+86-18702106858 / +86-21-69156352
ADL200 enfaset elmåler er en kompakt energimåler med høj præcision designet til lavspændingssystemer. Den måler enfaset aktiv energi og forskellige elektriske parametre såsom spænding, strøm, effekt og effektfaktor. Med en 8-bit LCD-skærm giver den klare aflæsninger af aktiv energi i både positiv og negativ kWh. Måleren har et RS485-kommunikationsinterface med en MODBUS-RTU-protokol, hvilket gør det ideelt til integration i IoT-platforme og energistyringssystemer. Certificeret i henhold til IEC62053-21 og IEC62053-22 standarder, det sikrer pålidelig ydeevne og nøjagtighed. Dens DIN-skinneinstallation og lille formfaktor gør det nemt at implementere i forskellige applikationer.
| Tekniske parametre | Værdi | |
| Indgangsspænding | Referencespænding | AC 220V |
| Referencefrekvens | 50 Hz | |
| Strømforbrug | <10VA | |
| Indgangsstrøm | Grundstrøm | 10A |
| Maksimal strøm | 80A | |
| Startaktuel | 4‰ lb | |
| Forbrug | <4VA | |
| Måleydelse | Nøjagtighed af måling | 1 klasse |
| Måleområde | 000000,00-999999,99 kWh | |
| Ur nøjagtighed | Fejl ≤0,5s/d | |
| Output | Pulsbredde | 80±20ms |
| Puls konstant | 1000imp/kWh | |
| Auto-genlukkende bremse | Interface | RS485 (A B-) |
| Tilslutningstilstand | Shiel | |
| ded Twisted Pair Conductors | ||
| Protokol | Modbus-RTU | |
| L*B*H | 90*36*65 mm | |
| Stærk nuværende terminalmoment | <1,8Nm | |
Styring af energieffektivitet
IoT EMS-løsning
Grundlagt i 2003, Acrel Co., Ltd.【Lager-Kode: 300286.SZ】 er en high-tech virksomhed med speciale i energi management-løsninger og elektrisk sikkerhed. Med hovedsæde i Shanghai, Acrel tilbyder innovative og bæredygtige løsninger for microgrid energieffektivitet og elektrisk sikkerhed. Med over 600 patenter og software rettigheder til ophavsret, Acrel har indsat mere end 28.000 system løsninger på globalt plan, der danner en samlet "cloud-kant-end" energi internet arkitektur.
Acrel Co., Ltd. er Kina Engros AC enfaset direkte adgang DIN-skinne RS485 energimåler Producenter og AC enfaset direkte adgang DIN-skinne RS485 energimåler Fabrikken. Acrel er integreret produkt-økosystem, der spænder fra cloud-platform software til slutbrugeren komponenter, der dækker områder som el, vedvarende energi, datacentre, intelligente bygninger, transport, og intelligente byer. Disse løsninger gør det muligt intelligent, real-time energy management, forbedring af sikkerhed og nedbringe driftsomkostningerne. Vi tilbyder AC enfaset direkte adgang DIN-skinne RS485 energimåler til salg.
Virksomhedens produktionsanlæg, Jiangsu Acrel Elektriske Manufacturing Co., Ltd., overholder strenge kvalitetsstandarder og miljømæssige retningslinjer, med avancerede testcentre og en forpligtelse til at føre-gratis produktionsprocesser. Acrel ' s team af mere end 500 ingeniører leverer banebrydende energi-effektivitet-systemer og intelligente energiløsninger.
Med en stærk national tilstedeværelse, Acrel er aktivt at udvide internationalt, understøttes af et globalt netværk af salgs-og tekniske teams og en e-commerce platform, der sikrer problemfri service oplevelser i hele verden. Acrel er stolte af at hjælpe virksomheder med at forbedre effektiviteten, reducere forbruget, og nå målene for bæredygtighed.
Sammen, vi er ved at opbygge en smartere, grønnere fremtid.
Autoriseret Patenter
0+Antallet af betjente Kunder
0+Samlet Antal Ansatte
0+Fremstilling Base
0m²Velkommen til at forbinde I sammenhæng med den hurtige udvikling af den nye energiindustri, scenarier som f.eks kommerciel og industriel energilagring , batteribyttestationer , og husholdnings solcelleopbevaringssystemer har stillet højere krav til nøjagtighed, ko...
Læs MereBranchebaggrund og applikations betydning Samleskinner tjener som rygraden i elektriske distributionssystemer i industrier lige fra koblingsudstyr, industrielle drev, invertere til vedvarende energi, batterienergilagringssystemer (BESS) og el-køretøjskraftelektronik. Med væksten af systemer ...
Læs MereBranchebaggrund og applikations betydning Den hurtige indførelse af elektriske køretøjer (EV'er) driver nye infrastrukturkrav i beboelsesmiljøer med flere lejere, såsom lejlighedskomplekser, bygninger til blandet brug og flerfamiliehuse. I modsætning til enfamiliehuse deler lejligheder ty...
Læs Mere